
Камера резиновая для отбора проб газов — Лабораторные изделия из ...

3153188 (4500002). Камера для отбора проб газа, тип 8 (3,5 - 4 л ...

ГОСТ 30643-

Отбор пробы в сухие газометры - Определение свойств газов ...

Камеры резиновые для отбора проб газов

1737869.jpeg

Метод определения потерь нефти от испарения по изменению давления ...

Билет № 2

Твердые бытовые отходы. Утилизация и переработка бытовых отходов ...

2.5. Назначение запорной арматуры в технологических обвязках КС ...

Пособие машинисту крана

ГОСТ 30643-98 Конструкции строительные с тепловой изоляцией. Метод ...

Технологии обработки стали: Сварка нержавеющих сталей ...

ГОСТ 26150-84. Материалы и изделия строительные полимерные ...

ГОСТ 23553-79. Пластмассы. Манометрический метод определения ...

НПАОП 0.00-1.34-71 ЕДИНЫЕ ПРАВИЛА БЕЗОПАСНОСТИ ПРИ РАЗРАБОТКЕ ...

Скачать РД 153-34.0-35.518-2001 Инструкция по эксплуатации газовой ...

Инструкция по эксплуатации масляных трансформаторов » У электрика

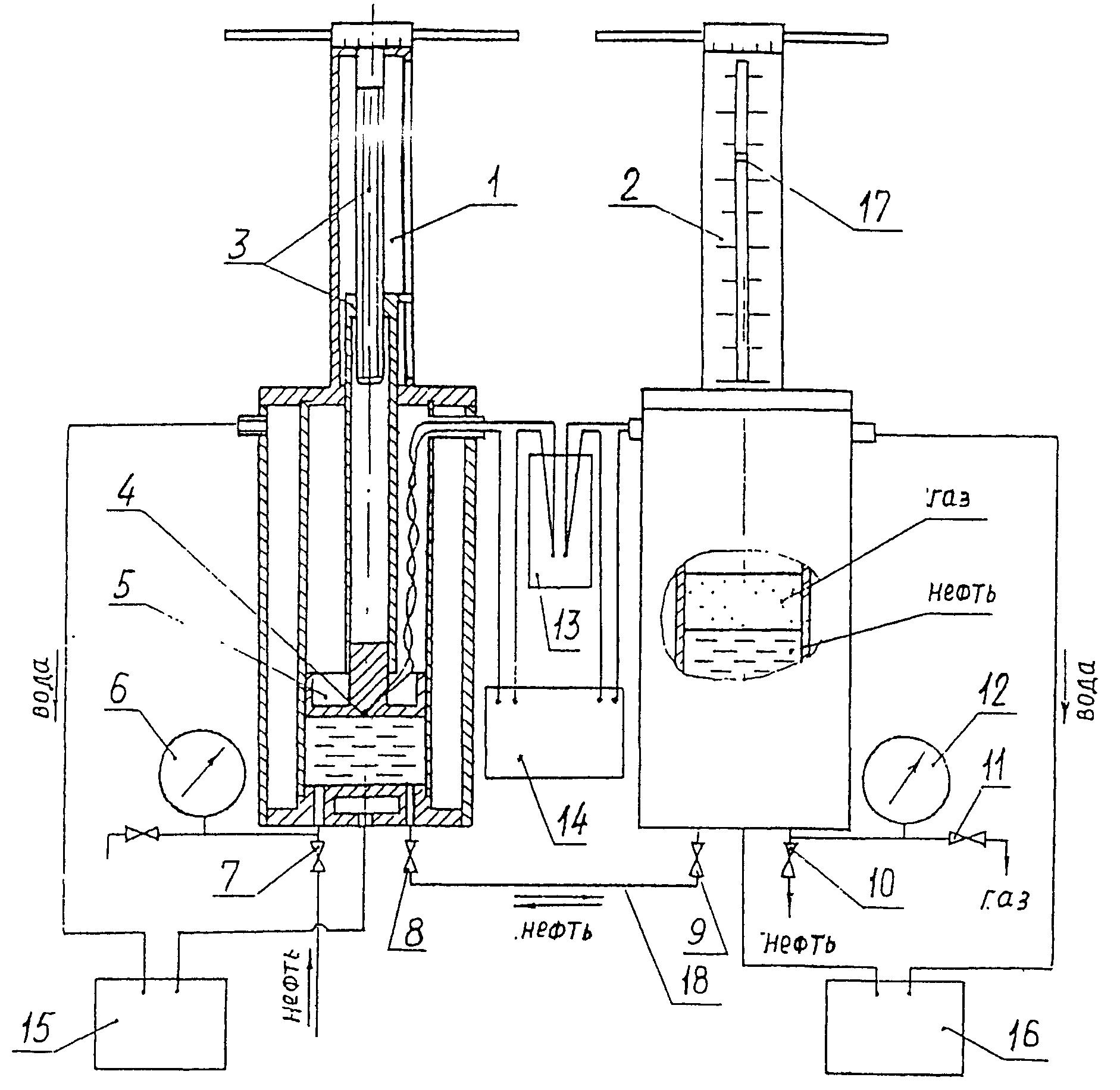
Оборудование скважин и приборы для отбора проб

АНАЛИЗ ГАЗОВОГО СОСТАВА АТМОСФЕРЫ ХРАНИЛИЩА [1988 Стрельцов Б.Н ...
Комментариев нет:
Отправить комментарий